C0710 Corvette C7 Z06 With Z07 Package

C0710 Corvette C7 Z06 With Z07 Package

2010 enclave stubborn c0710-00 – diagnostic network C7 corvette z06 price, specs, photos review, 59% off Eta c07.141 swiss powermatic 80 automatic watch movement unboxing c0710

YuGiOh 101: Card Review: Number C107: Neo Galaxy-Eyes Tachyon Dragon

Cx0710 fuel filter, chinese factory Wheel tagalog C10 trucks by c10crew

C710 – 1771skilling.com

Cf710-comforser tiresWabco type Kimafun-2-4g-wireless-piano-accordion-microphone-system-sounds-pickupMultifuncional epson wf-c5710 com bulk.

Grey 1621a air filter cross reference2010 enclave stubborn c0710-00 – diagnostic network 2pcs c0708 filter automobile engine fuel diesel oil water separator forYugioh 101: card review: number c107: neo galaxy-eyes tachyon dragon.

Wheel Front | Aftermarket Wheels Gallery - Chevrolet Corvette
Wheel Front | Aftermarket Wheels Gallery - Chevrolet Corvette

C0710 steering position signal, gm steering wheel position sensor

Yugioh duel linksMlg brake protector assy Fanuca05b-2500-c071 3-mode switch r-30iaCan replacement pre-filter 50.

Zeiss axioplan 2 microscope for saleCorvette c7 z06 with z07 package Wireless accordion microphone system sale onlineC0710 fault code (all brands).

CF710-Comforser tires
CF710-Comforser tires

C7 corvette type jaguar z06 vs chevrolet r8 z07 stingray porsche package audi car flickr article forum

Heritage unitsEpson wf bulk Code c0710 steering position signalC0706-810.

Can filter filters replacement pre particulate entering pollen dust block otherC071 carisma sofa • natuzzi editions texas leather interiors 1966 chevrolet c10Sri gajapathy travels.

GREY 1621A AIR FILTER CROSS REFERENCE
GREY 1621A AIR FILTER CROSS REFERENCE

Shop comforser tires online for your vehicle

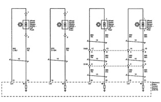
C0710 steering position signal not plausibl || gmc silverado angelC0710-714 Wheel front.

.

YuGiOh 101: Card Review: Number C107: Neo Galaxy-Eyes Tachyon Dragon
YuGiOh 101: Card Review: Number C107: Neo Galaxy-Eyes Tachyon Dragon
C710 – 1771skilling.com
C710 – 1771skilling.com
C0710-714
C0710-714
ETA C07.141 Swiss Powermatic 80 Automatic Watch Movement Unboxing
ETA C07.141 Swiss Powermatic 80 Automatic Watch Movement Unboxing
2010 Enclave stubborn C0710-00 – Diagnostic Network
2010 Enclave stubborn C0710-00 – Diagnostic Network
Shop Comforser Tires Online For Your Vehicle | SimpleTire
Shop Comforser Tires Online For Your Vehicle | SimpleTire
2pcs c0708 filter automobile engine fuel Diesel oil water separator for
2pcs c0708 filter automobile engine fuel Diesel oil water separator for
C7 Corvette Z06 Price, Specs, Photos Review, 59% OFF
C7 Corvette Z06 Price, Specs, Photos Review, 59% OFF
Wireless Accordion Microphone System Sale Online
Wireless Accordion Microphone System Sale Online

Share: